
服務熱線: 星型卸料器生產廠家
您的位置: 河北富宇環保設備有限公司 > 布袋除塵配件 > 星型卸料器

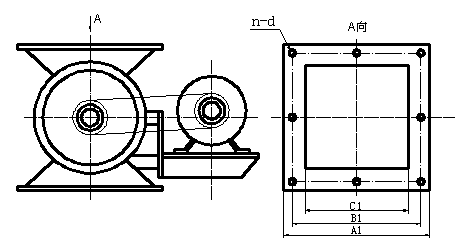
星型卸料器-也叫星形卸料器,剛性葉輪給料機,卸料器,星型卸料器-YJD-HG型電動卸灰閥,YJD-HG型星形卸料器,星型卸料器-YJD-HG型設計的軸承、齒箱離開殼體一段距離,對于高溫、潤滑都有較大改善。
星型卸料器-也叫星形卸料器,剛性葉輪給料機,星型卸料器-YJD-HG型卸料器,電動卸灰閥,YJD-HG型星形卸料器,設計的軸承、齒箱離開殼體一段距離,星型卸料器-YJD-HG型對于高溫、潤滑都有較大改善。星型卸料器-YJD-HG型結構緊湊,造型美觀,使用方便。運轉平穩,噪音低。YJD-HG型星型卸料器,卸料器,卸灰閥

主要技術參數:
|
型號 Type |
每轉體積 Volume/ Rotation |
減速電機型號 (Speed-down motor model) |
轉速 (Rew) |
工作溫度 (Work temperature) |
重量 (Weight) |
安裝聯接尺寸 Installation Dimension | |||||||||||||
| KW | r/min | ℃ | Kg | A | B | C | A1 | B1 | C1 | H | L | L1 | N | D | D1 | P | N-Φ | ||
| 2型 | 2立升/轉 | XWD2-59-0.55 | 24 | ≤300 | 95 | Φ240 | Φ200 | Φ150 | 240 | 200 | 150 | 240 | 510 | 500 | 35 | Φ30 | 33 | 10 | 8-Φ11 |
| 4型 | 4立升/轉 | XWD2-59-0.55 | 24 | ≤300 | 110 | Φ280 | Φ240 | Φ180 | 280 | 230 | 180 | 280 | 535 | 545 | 35 | Φ30 | 33 | 10 | 8-Φ13 |
| 6型 | 6立升/轉 | XWD2-59-0.55 | 24 | ≤300 | 120 | Φ300 | Φ260 | Φ200 | 290 | 250 | 200 | 300 | 555 | 565 | 35 | Φ30 | 33 | 10 | 8-Φ13 |
| 8型 | 8立升/轉 | XWD2-59-0.75 | 24 | ≤300 | 150 | Φ320 | Φ280 | Φ220 | 320 | 270 | 220 | 320 | 655 | 585 | 35 | Φ30 | 33 | 10 | 8-Φ13 |
| 10型 | 10立升/轉 | XWD3-59-1.1 | 24 | ≤300 | 170 | Φ340 | Φ300 | Φ240 | 340 | 290 | 240 | 340 | 675 | 626 | 55 | Φ35 | 38 | 10 | 8-Φ15 |
| 12型 | 12立升/轉 | XWD3-59-1.1 | 24 | ≤300 | 180 | Φ360 | Φ320 | Φ260 | 350 | 310 | 260 | 360 | 695 | 645 | 55 | Φ35 | 38 | 10 | 8-Φ15 |
| 14型 | 14立升/轉 | XWD3-59-1.1 | 24 | ≤300 | 190 | Φ380 | Φ340 | Φ280 | 380 | 330 | 280 | 380 | 715 | 665 | 55 | Φ35 | 38 | 10 | 8-Φ18 |
| 16型 | 16立升/轉 | XWD3-59-1.1 | 24 | ≤300 | 210 | Φ400 | Φ360 | Φ300 | 400 | 350 | 300 | 400 | 735 | 685 | 55 | Φ35 | 38 | 10 | 8-Φ18 |
| 18型 | 18立升/轉 | XWD3-59-1.5 | 24 | ≤300 | 245 | Φ420 | Φ380 | Φ320 | 420 | 370 | 320 | 420 | 755 | 705 | 55 | Φ40 | 43.5 | 12 | 8-Φ18 |
| 20型 | 20立升/轉 | XWD3-59-1.5 | 24 | ≤300 | 260 | Φ440 | Φ400 | Φ340 | 440 | 390 | 340 | 440 | 775 | 725 | 55 | Φ40 | 43.5 | 12 | 8-Φ18 |
| 26型 | 26立升/轉 | XWD3-59-1.5 | 24 | ≤300 | 370 | Φ500 | Φ460 | Φ400 | 510 | 350 | 400 | 520 | 890 | 830 | 60 | Φ45 | 48.5 | 14 | 8-Φ18 |
| 30型 | 30立升/轉 | XWD3-59-2.2 | 24 | ≤300 | 385 | Φ540 | Φ500 | Φ440 | 540 | 490 | 440 | 560 | 930 | 850 | 60 | Φ45 | 48.5 | 14 | 8-Φ18 |
| 40型 | 40立升/轉 | XWD4-59-/3 | 24 | ≤300 | 585 | Φ610 | Φ560 | Φ480 | 600 | 550 | 480 | 620 | 980 | 1005 | 91 | Φ55 | 59 | 16 | 16-Φ18 |
| 60型 | 60立升/轉 | XWD4-59-3 | 24 | ≤300 | 620 | Φ660 | Φ610 | Φ500 | 660 | 610 | 500 | 680 | 1020 | 1040 | 91 | Φ55 | 59 | 16 | 16-Φ18 |
| 80型 | 80立升/轉 | XWD5-59-4 | 24 | ≤300 | 710 | Φ670 | Φ620 | Φ540 | 670 | 620 | 540 | 720 | 1130 | 1065 | 91 | Φ55 | 59 | 16 | 16-Φ18 |
| 100型 | 100立升/轉 | XWD5-59-4 | 24 | ≤300 | 920 | Φ740 | Φ680 | Φ600 | 730 | 680 | 600 | 800 | 1200 | 1145 | 91 | Φ65 | 69 | 18 | 16-Φ18 |
| 250型 | 250立升/轉 | XWD6-59-5.5 | 24 | ≤300 | 1150 | 1060×900 | 960×800 | 860×700 | 1000 | 1350 | 1405 | 91 | Φ65 | 69 | 18 | 22-Φ20 | |||

